华仕达获得实用新型专利的“一种快速降温自动裁剪式无缝化弯头加工装置”
华仕达获得实用新型专利的“一种快速降温自动裁剪式无缝化弯头加工装置”
近日,在国家知识产权局关于专利权颁发公告中,对由青岛华仕达机器股份有限公司申请的,发明人为黄保东;顾邦成;黄子健的“一种快速降温自动裁剪式无缝化弯头加工装置”发布了实用新型专利公示并授予了专利证书,其申请公布号为CN113733468A。
专利证书中,对“一种快速降温自动裁剪式无缝化弯头加工装置”的核心技术做了阐述,摘要如下:
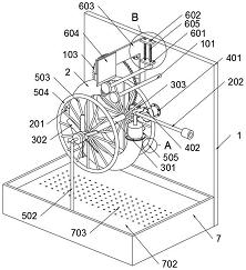
“一种快速降温自动裁剪式无缝化弯头加工装置”发明,提供一种快速降温自动裁剪式无缝化弯头加工装置,涉及管道加工技术领域,解决了不能够在管道成型时实现风冷水冷配合式的快速塑形,且不能够实现在冷却后实现管道自动裁剪,并且裁剪后的管道不能够辅助降温结构实现辅助降温的问题。
“一种快速降温自动裁剪式无缝化弯头加工装置”,包括板体;板体为矩形板状结构。因叶片共设有两个,且两个叶片均安装有在转轴B上;两个叶片一个位于注塑模型的前侧位置,另一个位于注塑模型的后侧位置,且两个叶片呈镜像状设置,从而当转轴B转动时两个叶片可产生两股风力吹向注塑模型,进而实现了注塑模型的对流式风力降温,最终提高了塑料塑化的效率。
最新产品
同类文章排行
- 华仕达热收缩套为新疆客户全力赶工,同时兼顾国内多地客户订单
- 不为利益推产品,只为真心帮客户|青岛华仕达的经营之道
- 华仕达2000型PE保温管生产线再次爆红的原因揭晓
- 河北和陕西客户分别追加订购华仕达的2000型保温管设备
- 青岛华仕达出席能源合作中土商业论坛收获颇丰
- 中国建材报道“华仕达与伊拉克萨哈曼公司签署3PE钢管防腐设备合同”
- 四线齐上 华仕达正在全力赶工的都是2000型保温管设备
- 华仕达车间一片繁忙 赶工国内保温管设备订单
- 青岛华仕达热收缩套批量启程,助力山西管道防腐工程建设
- 就服务能源基础设施建设 黄保东接受土库曼斯坦国家电视台专访
最新资讯文章
您的浏览历史










